Schmidt |Schneepflug|FLL
Pflugschar
Der FLL besitzt eine flache Scharwölbung, welche für einen kurzen Schneeauswurf sorgt und ideal für die Räumung im innerörtlichen Bereich ist. Die robuste Stahlkonstruktion mit Federklappensegmenten an der Unterseite zur Aufnahme der Schürfleisten sorgt für eine saubere Räumung. Die Schrägstellung des FLL nach rechts oder links ist stufenlos, er kann damit für jeden Einsatzort und -zweck genau und vor allem bedienerfreundlich positioniert werden.
Überfahrsystem
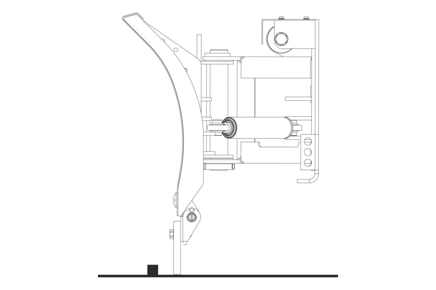
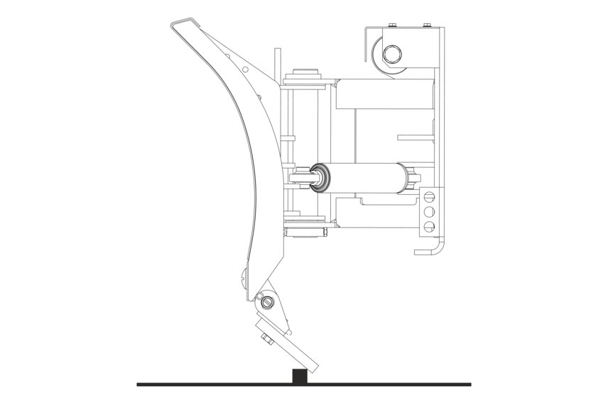
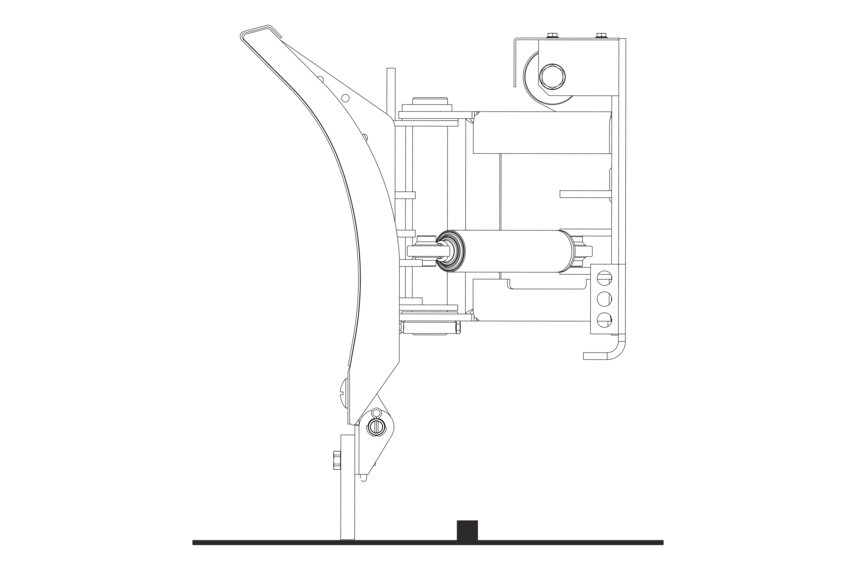
Die Schneepflüge der FLL-Baureihe sind als stabile und verwindungssteife Konstruktion gefertigt. Sie sind mit einem Federklappenüberfahrsystem mit vorgespannten Torsionsfedern zum Schutz für Hindernisberührungen ausgestattet. Sie sind nach rechts und links verschwenkbar. Dank dieses Federklappensystems werden Bodenhindernisse einfach überfahren, die Pflugschar bleibt dabei unverändert in Räumstellung und wird nicht beschädigt. Je nach Länge besitzt der FLL 3, 4 oder 6 Federklappen.
Schürfleisten
Schürfleiste aus Stahl (S)
Eine vielseitig einsetzbare, kostenoptimierte Lösung für aggressives Räumen - wenn nötig. Schürfleisten aus Stahl sind resistent gegen Verbiegen und Verdrehen und sorgen für ein sauberes Ergebnis.
Gummischürfleiste (R)
Eine gute Lösung für den Einsatz auf innerstädtischen Strassen und besonderen Grundstücken wie Parkplätzen. Aufgrund der flexiblen und elastischen Eigenschaften von Gummi gleitet sie sanft über die Oberfläche. Ermöglicht ein sanftes Räumen von gepflasterten Flächen.
Hubeinrichtung
FLL-Schneepflüge gewährleisten eine grosse Hubhöhe, abhängig vom Federweg des Fahrzeugs. Die Hebevorrichtung ist einfach zu bedienen. Der An- und Abbau des Geräts ist innerhalb weniger Minuten möglich.
Seitenumstellung
Serienmässig wird eine mechanische Seitenumstellung geliefert, optional ist auch eine hydraulische Variante für die stufenlose Verschwenkung nach rechts und links erhältlich.
Hydraulisches System
Für die Fahrzeughydraulik geeignetes Hydrauliksystem mit zwei Steuerventilen für den Betrieb des Schneepfluges.
Betriebsunterstützung
Die Nachlaufräder sichern eine präzise Einstellung des Schneepfluges und eine angemessene Aggressivität bei der Schneeräumung. Sie unterstützen den Rahmen beim Überfahren von Hindernissen und verlängern die Lebensdauer der Schürfleiste.
Schneestaubschutz
Der Schnee-Spritzschutz verringert die Sicht aus der Fahrerkabine. Der Gummischutz lenkt den Luftstrom zusammen mit dem Schneestaub zur Seite. Der Gummischutz wird vor allem bei der langsamen Räumung von nassem und schwerem Schnee eingesetzt. Dank seiner grossen Flexibilität wird der Spritzschutz nicht leicht beschädigt. Er ist eine einfache und kostengünstige Option.
Anbau
Der Anbau des Schneepflugs erfolgt an Fahrzeugen mit eigenem Hubsystem über entsprechende Anpassteile oder an Fahrzeugen durch eigene Dreilenker-Hubeinrichtung über doppeltwirkenden Hydraulikzylinder.
Optionen
- Warnzeichen und Sicherheitseinrichtungen
- Pflugbeleuchtung LED







